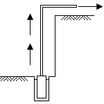
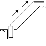
OK.Form 거푸집동바리 비계 가설울타리 해체 슬래브 해체지하층 중량물 인양검토 보 구조해석 복공판 재료의 단면성능 양수량 계산 환기량 계산 조명 계산 소음 · 진동 계산 단위환산(SI) 양수량 계산 특허 : 10-2303028 특허 : 10-2458426 특허 : 10-2524603 OK.Form 양수량 계산 양수량 흙막이 경사오픈컷
입금결제 정보 은행 : 국민은행 계좌번호 : 884201-04-152917 예금주 : 한국안전기술연합(주) 무통장 입금 시 유선 연락 바랍니다. 담당자 : 02-2618-8009 700,000 결제 -> P7,000 1,500,000 결제 -> P15,000 + P2,000 3,000,000 결제 -> P30,000 + P5,000
이용약관 < 한국안전기술연합(주) 이용약관 > 제 1 장 총 칙 제 1 조 (목적) 본 약관은 "한국안전기술연합(주)" 에서 운영하는 한국안전기술연합(주) 인터넷 홈페이지를 통하여 제공하는 서비스와 인터넷 서비스외 관련된 모든 이용 및 절차에 관한 사항과 기타 필요한 사항을 규정함을 목적으로 합니다. 제 2 조 (정의) ① "한국안전기술연합(주)"이란 회사가 상품 또는 서비스를 이용자에게 제공하고 위하여 컴퓨터 등 정보통신설비를 이용하여 상품 또는 서비스의 이용 및 거래할 수 있도록 설정한 가상의 영업장을 말합니다. ② "이용자"란 한국안전기술연합(주)에 접속하여 이 약관에 따라 한국안전기술연합(주)이 제공하는 서비스를 받는 회원 및 비회원을 말합니다. ③ "회원"이라 함은 한국안전기술연합(주)에 개인정보를 제공하여 회원등록을 한 자로서, 한국안전기술연합(주)의 정보를 지속적으로 제공받으며, 한국안전기술연합(주)이 제공하는 서비스를 계속적으로 이용할 수 있는 자를 말합니다. ④ "비회원"이라 함은 회원에 가입하지 않고 한국안전기술연합(주)이 제공하는 서비스를 이용하는 자를 말합니다. ⑤ "아이디(ID)"라 함은 회원의 식별과 서비스 이용을 위하여 회원이 정하고 회사가 승인하는문자와 숫자의 조합을 말합니다. ⑥ "비밀번호"라 함은 회원이 부여 받은 아이디(ID)의 회원임을 확인하고, 회원 자신의 비밀을 보호하기 위하여 회원이 정한 문자와 숫자의 조합을 말합니다. 제 3 조 (약관의 게시 및 변경) ① 본 약관은 한국안전기술연합(주) 인터넷 홈페이지 (www.ilovesafety.co.kr) 에 게시되어 있습니다. ② 한국안전기술연합(주)은 영업상 중요사유, 사정변경, 기타 회사가 필요하다고 인정하는 경우에 약관의 내용을 개정할 수 있으며, 개정시에는 그 개정사실과 개정후의 약관을 한국안전기술연합(주) 인터넷 홈페이지에 게시합니다. ③ 변경된 약관은 전항과 같은 방법으로 효력이 발생됩니다. 제 4 조 (약관 외 준칙) ① 본 약관에 명시되지 않는 사항은 전자거래기본법, 전자서명법, 방문판매법, 및 기타 관련 법령의 규정에 의합니다. ② 본 약관에 한국안전기술연합(주) 이용약관에 따릅니다. 제 2 장 서비스 이용계약 제 5 조 (이용계약의 성립) ① 이용계약은 이용자가 서비스 이용약관에 동의하고 한국안전기술연합(주)이 이에 대해 승낙함으로써 이용계약이 성립합니다. ② 이용자가 화면의 "동의" 버튼을 누르는 것은 본 약관에 합법적으로 동의하는 것으로 간주됩니다. ③ 회원이 되고자 하는 자는 회사에서 요청하는 개인 신상정보를 제공해야 합니다. ④ 온라인 이용신청 양식에 가입하는 모든 정보는 실제 데이터인 것으로 간주하며 실명이나 주민등록번호 등 실제정보를 입력하지 않는 사용자는 법적인 보호를 받을 수 없으며, 서비스 사용시 제한을 받을 수 있습니다. ⑤ 다음 각 항에 해당하는 회원신청에 대하여 한국안전기술연합(주)은 승낙을 하지 않으며, 승낙을 하였다하더라도 이러한 계약은 원인무효로서 한국안전기술연합(주)은 언제든지 이런 계약의 효력을 부정할 수 있습니다. 1. 타인의 명의로 신청하였을 때 2. 회원가입 신청서의 내용의 일부 또는 전부를 허위로 기재하였을 때 3. 공공질서 혹은 미풍양속을 해할 목적으로 신청하였을 때 ⑥ 사용자의 변심으로 중도에 남은 포인트에 대한 환불요청을 할 수 없습니다. 제 6 조 (서비스의 이용 및 제한) ① 서비스의 이용은 연중무휴, 1일 24시간 이용을 원칙으로 합니다. ② 한국안전기술연합(주)은 시스템 등 장치의 보수점검?교체, 시스템의 고장, 통신의 두절, 기타 불가항력적 사유가 발생한 경우에는 서비스의 제공을 일시적으로 중단할 수 있습니다. ③ 한국안전기술연합(주)은 제2항의 사유로 서비스 제공이 일시적으로 중단됨으로 인하여 이용자 또는 제3자가 입은 손해에 대하여는 배상하지 아니 합니다. 단, 한국안전기술연합(주)의 고의 또는 중과실이 있는 경우에는 그러하지 아니 합니다. ④ 한국안전기술연합(주) 인터넷 서비스의 일부는 한국안전기술연합(주)에서 인정한 아이디(ID)와 비밀번호(Password)를 입력해야 이용할 수 있습니다. 제7조 (회원탈퇴와 자격의 상실) ① 회원은 한국안전기술연합(주)에 언제든지 탈퇴를 요청할 수 있으며 한국안전기술연합(주)이 회원의 의사를 확인하는 즉시 회원탈퇴를 처리합니다. ② 회원이 다음 각 호의 사유에 해당하는 경우, 한국안전기술연합(주)은 사전통보 없이 이용계약을 해지하거나 또는 기간을 정하여 서비스 이용을 중지 할 수 있습니다. 1. 등록 신청시에 허위 내용을 등록한 경우 2. 아이디 중복사용으로 인한 피해를 주는 경우 3. 타인의 서비스 아이디 및 비밀번호를 도용한 경우 4. 서비스 운영을 고의로 방해한 경우 5. 한국안전기술연합(주)을 이용하여 구입한 재화?용역 등의 대금, 기타 마이클럽 이용에 관련하여 회원이 부담하는 채무를 기일에 지급하지 않는 경우 6. 다른 사람의 한국안전기술연합(주) 이용을 방해하거나 그 정보를 도용하는 등 전자거래질서를 위협하는 경우 7. 한국안전기술연합(주)을 이용하여 법령과 이 약관이 금지하거나 공서양속에 반하는 행위를하는 경우 8. 회원이 국익 또는 사회적 공익을 저해할 목적으로 서비스 이용을 계획 또는 실행하는 경우 9. 타인의 명예를 손상시키거나 불이익을 주는 행위를 한 경우 10. 서비스의 안정적 운영을 방해할 목적으로 다량의 정보를 전송하거나 광고성 정보를 전송하는 경우 11. 정보통신설비의 오작동이나 정보 등의 파괴를 유발시키는 컴퓨터 바이러스 프로그램 등을 유포하는 경우 12. 회사, 다른 회원 또는 타인의 지적재산권을 침해하는 경우 13. 정보통신윤리위원회 등 회부기관의 시정요구가 있거나 불법선거 운동과 관련하여 선관리위원회의 유권해석을 받은 경우 14. 회사의 서비스 정보를 이용하여 얻은 정보를 회사의 사전 승낙없이 복제 또는 유통시키거나 상업적으로 이용하는 경우 15. 회원이 자신의 홈페이지와 게시판에 음란물을 게재하거나 음란사이트를 링크하는 경우 ③ 한국안전기술연합(주)이 회원 자격을 제한?정지 시킨 후, 동일한 행위가 2회 이상 반복되거나 30일 이내에 그 사유가 시정되지 아니하는 경우 한국안전기술연합(주)은 회원자격을 상실 시킬 수 있습니다. ④ 한국안전기술연합(주)이 회원자격을 상실 시키는 경우에는 회원등록을 말소합니다. 제 8조 (회원에 대한 통지) ① 한국안전기술연합(주)이 회원에 대한 통지를 하는 경우, 회원이 한국안전기술연합(주)에 제출한 전자우편주소로 할 수 있습니다. ② 한국안전기술연합(주)은 불특정다수 회원에 대한 통지의 경우 1주일 이상 한국안전기술연합(주) 홈페이지 게시판에 게시함으로서 개별 통지에 갈음할 수 있습니다. 제 9조 ( 정보의 제공 방법 ) ① 한국안전기술연합(주)은 회원에게 서비스 이용 및 각종행사(상업성 광고) , 다양한 서비스(를 전자우편이나, 서신우편, 무선단문 메세지(SMS), 기타 방법으로 제공할 수 있습니다. ② 단, 회원이 원하지 않을 경우 한국안전기술연합(주)이 제공하는 정보를 수신 거부할 수 있습니다 제 3장 책임과 의무 제 10조 (개인정보의 보호) "한국안전기술연합(주)"은 관련법령이 정하는 바에 따라서 이용자 등록정보를 포함한 이용자의 개인정보를 보호하기 위하여 노력합니다. 이용자의 개인정보보호에 관해서는 관련법령 및 "한국안전기술연합(주)"이 정하는 "개인정보보호정책"에 정한 바에 의합니다. 제11조 (지불정보의 보호) ① 한국안전기술연합(주)은 고객이 안전하게 인터넷서비스를 이용할 수 있도록 개개인의 지불정보 보호를 위해 다음과 같은 사항을 준수하며 최선의 제도적, 기술적 장치의 노력을 다 합니다. 1. 개인 신용정보 보호를 위해 최선의 보안시스템을 갖추도록 노력합니다. 2. 신용카드 온라인승인에 문제가 있을 경우에 대비하여 오프라인 승인담당자를 한정하여 임명, 운영하되 정기적인 내부 감사를 시행하여 문제점이 발생됐을 시엔 적절한 조치를 취하여 재발되지 않도록 모든 노력을 강구합니다. ② 한국안전기술연합(주)의 온라인 및 오프라인 서비스 이용시 신용카드 등 개인신용정보에 관련된 사고 발생시에는 한국안전기술연합(주)이 그에 따른 모든 책임을 집니다. 제 12조 (한국안전기술연합(주)의 의무) ① 한국안전기술연합(주)은 본 약관이 정하는 바에 따라 지속적이고, 안정적인 서비스를 제공하는데 최선을 다하여야 합니다. ② 한국안전기술연합(주)은 항상 이용자의 신용정보를 포함한 개인신상정보의 보안에 대하여 기술적 안전 조치를 강구하고 관리에 만전을 기함으로써 이용자의 정보보안에 최선을 다하여야 합니다. ③ 한국안전기술연합(주)은 공정하고 건전한 운영을 통하여 전자상거래 질서 유지에 최선을 다하고, 지속적인 연구?개발을 통하여 양질의 서비스를 제공함으로써 고객만족을 극대화하여 인터넷 비즈니스 발전에 기여하도록 합니다. ④ 한국안전기술연합(주)은 소비자보호단체의 소비자보호 업무의 추진에 필요한 자료등의 제공요구에 적극 협력합니다. ⑤ 한국안전기술연합(주)은 본 인터넷 홈페이지에 포함되어 있거나 본 인터넷 홈페이지를 통하여 배포되거나, 본 인터넷 홈페이지에 포함되어 있는 서비스로부터 링크, 다운로드, 또는 억세스되는 정보, 내용에 관련하여 한국안전기술연합(주)로부터 직접 제공되는 자료를 제외한 기타 자료의 정확성 및 신뢰성에 대해서는 보증을 하지 않습니다. 이러한 자료와 관련하여 직간접, 부수적, 파생적으로 발생한 손해에 대해서는 한국안전기술연합(주)은 책임을 지지 아니합니다. ⑥ 한국안전기술연합(주)은 이용자가 한국안전기술연합(주)의 게시판 등에 게재한 정보, 자료, 사실의 신뢰도 및 정확도 등의 내용에 관하여 책임을 지지 않습니다. 제 13조 (이용자의 의무) ① 이용자는는 관계법령, 이 약관의 규정, 이용안내 및 주의사항 등 한국안전기술연합(주)이 통지하는 사항을 준수하여야 합니다. ② 이용자는 가입신청시 신청서를 정직하고 성실하게 작성하여야 하며, 기재한 사항이 변경되었을 경우 온라인으로 수정해야하고 미변경된 정보로 인해 초래되는 모든 문제의 책임을 집니다. ③ 이용자는 서비스의 이용권한 기타 이용계약상의 지위를 타인에게 양도 및 증여할 수 없습니다. ④ 이용자는 서비스의 일부로 보내지는 한국안전기술연합(주)의 전자우편 서비스를 받는 것에 동의합니다. ⑤ 이용자는 다음의 행위를 하여서는 안됩니다. 1. 신청 또는 변경시 허위내용의 등록 2. 한국안전기술연합(주)에 게시된 정보의 변경 3. 한국안전기술연합(주)에 게시된 정보의 일부 또는 전부를 복제. 재생하여 상업적 목적으로 사용하거나 재판매하는 행위 4. 한국안전기술연합(주)이 정한 정보 이외의 정보(컴퓨터프로그램 등)의 송신 또는 게시 5. 한국안전기술연합(주) 기타 제3자의 저작권 등 지적재산권에 대한 침해 6. 한국안전기술연합(주) 운영의 방해 7. 한국안전기술연합(주) 기타 제3자의 명예를 손상시키거나 업무를 방해하는 행위 8. 외설 또는 폭력적인 메시지?화상?음성 기타 공서양속에 반하는 정보를 한국안전기술에 공개 또는 게시하는 행위 9. 이용자가 한국안전기술연합(주)의 게시판등을 이용하여 상품을 판매하거나 호객을 하는 행위 10. 기타 한국안전기술연합(주)이 부적절하다고 판단하는 행위 ⑥ 전항 각호의 정보 기타 한국안전기술연합(주) 홈페이지 운영상 부적절하다고 판단한 정보가 한국안전기술연합(주)에 게시되거나 한국안전기술연합(주) 홈페이지에 링크된 곳에 게시된 경우, 한국안전기술연합(주)은 이용자 기타 정보의 게시를 행한 자의 승낙없이 한국안전기술연합(주)에 게재된 당해 정보를 삭제하거나 링크를 절단할 수 있습니다. 단, 한국안전기술연합(주)은 이러한 정보의 삭제?링크의 절단 등을 할 의무를 지지 않습니다 제 14조 (계약해지 및 이용제한) ① 한국안전기술연합(주)은 회원이 다음 사항에 해당하는 행위를 하였을 경우 사전통지 없이 이용계약을 해지하거나 서비스의 이용을 중지할 수 있습니다. 1. 공공질서 또는 미풍양속에 반하는 행위 2. 범죄와 관련되었다고 추정되는 일체의 행위 3. 공공의 이익을 저해할 목적으로 서비스 이용을 계획 또는 실행하는 행위 4. 타인의 아이디 및 비밀번호를 도용한 행위 5. 타인의 명예를 훼손하거나 모욕을 준 경우 기타 타인을 해할 목적의 행위 6. 한 사용자가 두개 이상의 아이디로 이중 등록한 행위 (하나의 아이디로 조정 유지) 7. 서비스의 제공을 방해하는 등 서비스의 건전한 이용을 저해하는 행위 8. 기타 관계법령이나 한국안전기술연합(주)의 약관에서 정한 이용규칙에 위배되는 행위 ② 상기사유로 계약이 해지된 경우, 한국안전기술연합(주)은 회원 또는 제 3자에 대하여 해지에 따른 손해에 대하여 책임을 지지 않습니다. 제4장 기타 제15조 (저작권의 귀속) ① 한국안전기술연합(주)이 작성한 www.ilovesafety.co.kr 에 관한 저작권 및 기타 지적재산권은 한국안전기술연합(주)에 귀속합니다. ② 이용자는 www.ilovesafety.co.kr 을 이용함으로써 얻은 정보를 한국안전기술연합(주)의 사전승낙없이 복제,송신,출판,배포,방송 기타 방법에 의하여 영리목적으로 이용하거나 제3자에게 이용하게 하여서는 안됩니다. 단, 이용자가 사적으로 이용하는 경우는 그러하지 아니합니다. 제16조 (분쟁해결) ① 한국안전기술연합(주)은 이용자가 제기하는 정당한 의견이나 불만을 반영하고 그 피해를 보상처리하기 위하여 고객만족센터를 둡니다. ② 이용자가 한국안전기술연합(주)의 이용과 관련하여 불만이 있거나 의견을 제시하고자 하는 경우에는 한국안전기술연합(주)에 불만사항 또는 의견을 제출하면 됩니다. ③ 한국안전기술연합(주)은 이용자로부터 제출되는 불만사항 및 의견이 정당하다고 판단하는 경우 우선적으로 그 사항을 처리합니다. 다만, 신속한 처리가 곤란한 경우에는 이용자에게 그 사유와 처리일정을 즉시 통보해 드립니다. 제17조 (관할법원) 본 약관과 관련한 소송은 서울지방법원에 제기할 수 있습니다 (부칙) 본 약관은 2016년01월 01일부터 시행합니다.
개인정보처리방침 <개인보호정책 1 > 제1장 총 칙 제1조(목적) 이 지침은 정보통신망이용촉진및정보보호등에관한법률시행령(이하 "영"이라 한다) 제3조의 규정에 의하여 정보통신망이용촉진및정보보호등에관한법률 제22조 내지 제32조?제49조?제50조?제54조 및 제58조의 규정과 관련하여 정보통신서비스제공자 등이 준수하여야 할 개인정보 보호에 관한 세부적인 사항을 규정함을 목적으로 한다. 제2조(정의) 이 지침에서 사용하는 용어의 정의는 다음과 같다. 1."개인정보"라 함은 생존하고 있는 개인에 관한 정보로서 성명/주민등록번호 등에 의하여 당해 개인을 알아볼 수 있는 부호/문자/음성/음향/영상 및 생체특성 등에 관한 정보(당해 정보만으로는 특정 개인을 알아볼 수 없는 경우에도 다른 정보와 용이하게 결합하여 알아볼 수 있는 것을 포함한다)를 말한다. 2. "서비스" 라 함은 전기통신기본법 제2조제7호의 규정에 의한 전기통신역무와 동 역무를 이용하여 정보를 제공하거나 정보의 제공을 매개하는 것(이하 "정보통신서비스"라 한다)과 다음 각목에 해당하는 자가 제공하는 재화 또는 용역을 말한다. 가. 관광진흥법 제3조제1항의 규정에 의한 여행업 또는 호텔업을 행하는 자 나. 항공법 제2조제26호의 규정에 의한 항공운송사업을 행하는 자 다. 학원의설립?운영및과외교습에관한법률 제2조제1호의 규정에 의한 학원 또는 동조제2호의 규정에 의한 교습소를 설립 / 운영하는 자 라. 재화 또는 용역을 제공하면서 회원제 또는 그와 유사한 형태로 개인정보를 수집하는 사업자로서 영 제28조제4호의 규정에 의하여 정보통신부령으로 정하는 자 3. "정보통신서비스제공자"라 함은 전기통신사업법 제2조제1항제1호의 규정에 의한 다음 각목에 해당하는 전기통신사업자와 영리를 목적으로 전기통신사업자의 전기통신역무를 이용하여 정보를 제공하거나 정보의 제공을 매개하는 자를 말한다. 가. 기간통신사업자 : 전기통신회선설비를 설치하고 이를 이용하여 전기통신사업법시행규칙 제3조의 기간통신역무를 제공하는 사업자로서 정보통신부장관의 허가를 받은 자 나. 별정통신사업자 : 기간통신사업자의 전기통신회선설비 등을 이용하여 기간통신역무를 제공하는 사업자 또는 전기통신사업법시행규칙 제3조의2에서 정하는 구내에 전기통신 설비를 설치하거나 이를 이용하여 그 구내에서 전기통신역무를 제공하는 사업자로서 정보통신부장관에게 등록한 자 다. 부가통신사업자 : 기간통신사업자로부터 전기통신회선설비를 임차하여 부가통신역무를 제공하는 사업자로서 정보통신부장관에게 신고한 자 4. "서비스제공자"라 함은 정보통신서비스제공자 및 제2호 각목의 자를 말한다. 5. "이용자"라 함은 서비스제공자가 제공하는 서비스를 이용하는 자로서 처리되는 정보에 의하여 식별이 되는 당해 정보의 주체를 말한다. 6. "제3자"라 함은 다음 각목에 해당하는 자 이외의 자연인, 법인, 기관/단체 및 기타의 자를 말한다. 가. 서비스제공자와 당해 서비스를 이용하는 자 나. 서비스제공자로부터 개인정보의 수집 / 취급 / 관리 등을 위탁받은 자 다. 영업의 양수, 합병, 상속 등에 의하여 서비스제공자로부터 권리 / 의무를 승계한 자 7. "개인정보보호방침"이라 함은 서비스제공자가 자체적으로 이용자의 개인정보를 보호하기 위하여 수립한 기본지침 및 계획 등을 말한다. 제3조(적용범위) 이 지침은 서비스 제공을 목적으로 정보통신망을 통하여 수집 / 이용 / 제공 또는 관리되는 개인정보뿐만 아니라 서면 등 정보통신망 이외의 수단을 통하여 수집/이용/제공 또는 관리되는 개인정보에 관해서도 적용된다. 제4조(개인정보 보호를 위한 일반원칙) ①누구든지 자신의 의사에 반하여 자신의 개인정보가 위법하게 침해되거나 공개되지 않을 권리를 가지며, 개인정보를 자율적으로 통제할 수 있어야 한다. ②개인정보를 수집, 이용, 제공 또는 관리하는 자는 제1항의 규정에 의한 개인정보보호 원칙을 따르고 개인정보를 보호하기 위하여 적극 노력하여야 한다. 제2장 개인정보의 수집 제5조(개인정보의 수집) ①서비스제공자가 이용자로부터 개인정보를 수집하는 경우에는 당해 이용자의 동의를 얻어야 한다. 다만, 다음 각호의 1에 해당하는 경우에는 예외로 한다. 1. 서비스 이용계약의 이행을 위하여 필요한 경우 2. 서비스 제공에 따른 요금정산을 위하여 필요한 경우 3. 정보통신망이용촉진및정보보호등에관한법률 또는 다른 법률에 특별한 규정이 있는 경우 ②제1항의 규정에 의한 동의는 당해 이용자의 서명날인, 전자서명, 전자우편, 전화 또는 홈페이지상의 동의란에 대한 표시 등의 방법에 의한다. 이 경우전화에 의한 동의는 향후 입증을 위하여 상대방과의 합의하에 통화내용을 녹취할 수 있다. 이하 같다. 제6조(고지 또는 명시) 서비스제공자는 이용자로부터 제5조제1항의 규정에 의한 동의를 받고자 하는 경우에는 미리 다음 각호의 사항을 서면 또는 인터넷 홈페이지 등을 통하여 내용을 쉽게 확인할 수 있도록 이용자에게 고지하거나 서비스 이용약관에 명시하여야 한다. 1. 개인정보관리책임자의 성명?소속 부서?지위?전화번호?전자우편 주소 기타 연락처 2. 개인정보의 구체적인 수집목적 및 이용목적 3. 개인정보를 제3자에게 제공하는 경우의 제공받는 자, 주된 사업, 연락처, 제공목적 및 제공할 정보의 내용 4. 동의 철회, 열람 또는 정정 요구 등 이용자 및 법정대리인의 권리와 그 행사방법 5. 서비스제공자가 수집하고자 하는 개인정보항목 6. 수집하는 개인정보의 보유?이용기간 및 법적근거 등 보유 이유 7. 기타 개인정보에 대한 가공 또는 관리 방식 제7조(개인정보보호방침의 공개) ①서비스제공자는다음 각호의 내용을 포함하는 개인정보보호방침을 정하여 지속적으로 실행하여야 하고, 서면 또는 인터넷 홈페이지 등을 통하여 이용자에게 공개하여야 한다. 1. 제6조 각호의 사항 2. 인터넷 홈페이지 접속정보파일(cookie)의 운영에 관한 사항 3. 개인정보보호를 위한 기술적?관리적 대책 4. 개인정보 관련 불만처리에 관한 사항 5. 개인정보의 가공목적?가공방식, 가공된 개인정보의 이용?관리 등에 관한 사항 6. 제3자 또는 공개된 자료로부터 수집한 개인정보의 이용?관리 등에 관한 사항 7. 기타 개인정보의 보호를 위하여 필요한 사항 ② 인터넷 홈페이지를 통하여 개인정보를 수집하는 서비스제공자는 개인정보보호방침을 이용자가 볼 수 있도록 인터넷 홈페이지의 첫화면에 필요한 조치(메뉴설정 등)를 하여야 하며 개인정보를 수집하는 인터넷 홈페이지내의 다른 화면과 전자적으로 연결(하이퍼링크)되도록 하여야 한다. ③ 제1항 각호의 내용을 포함하는 중요한사항이 변경되는 경우에는 변경되는 개인정보보호방침을 시행하기전에 인터넷 홈페이지 등을 통하여 변경이유 및 내용을 이용자에게 공지하여야 한다. 제8조(개인정보 수집의 제한) ①서비스제공자는 이용자의 기본적 인권을 현저하게 침해할 우려가 있는 다음 각호의 내용을 포함하는 개인정보를 수집하여서는 아니 된다. 다만, 법률에 수집대상 개인정보가 명시되어 있거나 서비스 제공에 직접적으로 관련되어 필요한 경우로서 이용자의 동의가 있는 경우에는 예외로 한다. 1. 인종 및 민족 2. 사상 및 신조 3. 출신지 및 본적지 4. 정치적 성향 및 범죄기록 5. 과거의 병력 등 건강상태 및 성생활 ②서비스제공자는 이용자의 개인정보를 수집하는 경우 적법하고 공정한 수단에 의하여 서비스 제공에 직접적으로 관련되어 필요한 성명, 연락처 등 최소한의 정보를 수집하여야 한다. ③서비스제공자가 제2항의 규정에 의하여 이용자의 개인정보를 수집하는 경우에는 다음 각호의 구분에 따라 필수항목과 선택항목으로 구분하여 이용자가 선택적으로 자신의 개인정보를 제공할 수 있도록 하여야 한다. 1. 필수항목 : 성명, 연락처 등 기본적인 서비스제공을 위하여 필요한 항목 2. 선택항목 : 기본적인 서비스외에 이용자에게 부가적인 서비스 제공과 직결되어 필요한 항목 ④서비스제공자는 이용자가 선택항목에 해당하는 개인정보를 제공하지 아니한다는 이유로 기본적인 서비스 제공을 거부하여서는 아니 된다. 제3장 개인정보의 이용 및 제공 제9조(이용 및 제공의 제한) ①서비스제공자는 개인정보를 제6조의 규정에 의한 고지의 범위 또는 서비스이용약관에 명시한 범위를 넘어 이용하거나 제3자에게 제공하여서는 아니된다. 다만, 당해 이용자의 동의가 있거나 다음 각호의 1에 해당하는 경우에는 예외로 한다. 1. 서비스 제공에 따른 요금정산을 위하여 필요한 경우 2. 통계작성?학술연구 또는 시장조사를 위하여 필요한 경우로서 특정 개인을 알아볼 수 없는 형태로 가공하여 제공하는 경우 3. 금융실명거래및비밀보장에관한법률, 신용정보의이용및보호에관한법률, 전기통신기본법, 전기통신사업법, 지방세법, 소비자보호법, 한국은행법, 형사소송법 등 법률에 특별한 규정이 있는 경우 ②서비스제공자로부터 이용자의 개인정보를 제공받은 자는 당해 이용자의 동의가 있거나 법률에 특별한 규정이 있는 경우를 제외하고는 개인정보를 제공받은 목적외의 용도로 이용하거나 제3자에게 제공하여서는 아니된다. ③서비스제공자등(서비스제공자와 그로부터 이용자의 개인정보를 제공받은 자를 말한다. 이하 같다)은 제1항 및 제2항의 규정에 의한 이용자의 동의를 얻고자 하는 때에는 미리 당해 이용자에게 개별적으로 서면, 전자우편, 전화 등으로 다음 각호의 사항을 고지하여야 한다. 1. 당해 이용자가 종전에 동의한 사항(서비스제공자가 종전에 고지 또는 약관에 명시한 사항을 포함한다) 2. 고지 또는 약관에 명시한 범위나 제공받은 목적범위를 넘어 개인정보를 이용 또는 제공하는 사항 3. 이용자의 동의하지 않을 권리와 의사표시 방법 4. 기타 이용자의 동의를 얻기 위하여 필요한 사항 제10조(개인정보취급자의 제한) 서비스제공자등은 이용자의 개인정보를 취급할 수 있는 자를 다음 각호의 1에 해당하는 자로 정하여 최소한으로 제한하여야 한다. 1. 이용자를 직접 상대로 하여 마케팅 업무를 수행하는 자 2. 개인정보관리책임자 등 개인정보관리업무를 수행하는 자 3. 기타 업무상 개인정보의 취급이 불가피한 자 제11조(비밀유지) 서비스의 제공을 위하여 이용자의 개인정보를 취급하거나 취급하였던 자는 직무상 알게된 개인정보를 훼손?침해 또는 누설하여서는 아니된다. 제12조(개인정보처리의 위탁) ①서비스제공자등이 타인에게 이용자의 개인정보의 수집?취급?관리 등을 위탁하는 경우에는 서면, 전자우편, 전화 또는 홈페이지를 통하여 미리 그 사실을 이용자에게 고지하여야 한다. ②서비스제공자등은 제1항의 규정에 의한 위탁 계약을 체결하는 때에는 수탁자와 다음 각호의 사항을 합의하여 서면 또는 전자적 기록으로 보존하여야 한다. 1. 기술적 / 관리적 보호의무 2. 개인정보에 관한 비밀유지 의무 3. 처리하는 개인정보의 제3자 제공 금지 4. 제6항의 규정에 의한 손해배상 책임 5. 기타 개인정보를 안전하게 처리하기 위하여 필요한 사항 ③서비스제공자등은 위탁 처리되는 개인정보가 안전하게 관리될 수 있도록 수탁자가 제2항 각호의 내용을 성실하게 이행하는지 여부에 대하여 위탁한 업무의 범위내에서 적절한 감독을 행하여야 한다. ④제1항의 규정에 의하여 개인정보의 수집을 위탁 받은 자가 개인정보를 수집하는 때에는 미리 위탁 받은 사실을 당해 정보주체에게 고지하여야 한다. ⑤제1항의 규정에 의하여 개인정보 수집?취급?관리 등을 위탁받은 자는 당해 개인정보를 위탁받은 목적외의 용도로 이를 이용하거나 제3자에게 제공하여서는 아니된다. ⑥수탁자는 당해 업무와 관련하여 법 제22조 내지 제31조의 규정을 위반하여 발생한 손해의 배상책임에 한하여 서비스제공자등의 소속직원으로 본다. 제13조(영업의 양수 등의 통지) ①서비스제공자등이 영업의 전부 또는 일부를 양도하거나 합병 / 상속 등으로 그 권리 / 의무를 이전하는 경우 이용자에게 다음 각호의 사항을 통지하여야 한다. 1. 영업의 전부 또는 일부의 양도, 합병 또는 상속 등의 사실 2. 서비스제공자등의 권리 / 의무를 승계한 자의 성명(법인인 경우 법인의 명칭을 말한다. 이하 이 조에서 같다), 주소, 전화번호 기타 연락처 ②서비스제공자등으로부터 영업의 전부 또는 일부를 양수받거나 합병?상속 등으로 서비스제공자등의 권리?의무를 승계한 자(이하 "영업양수자등"이라 한다)는 다음 각호의 사항을 이용자에게 통지하여야 한다. 1. 서비스제공자등의 권리 / 의무를 승계한 사실 및 해당 서비스제공자등의 성명 2. 개인정보관리책임자의 성명 / 소속부서 / 지위 및 전화번호 기타 연락처 3. 개인정보의 이용목적 4. 개인정보의 수집 / 이용 및 제공에 관한 동의 철회, 개인정보의 열람 또는 정정 요구 등 이용자의 권리 및 그 행사방법 5. 이전받은 개인정보 항목 6. 이전받은 개인정보의 보유기간 / 법적근거 등 보유이유 및 이용기간 제14조(영업의 양수 등의 통지방법) ①제13조제1항 및 제2항의 규정에 의한 통지는 다음 각호의 방법에 의한다. 1. 서비스제공자등 또는 영업양수자등의 인터넷홈페이지 첫화면에서 식별할 수 있도록 표기하여 최소 30일 이상 공지(인터넷 홈페이지가 개설된 경우에 한한다) 2. 서면 / 전자우편 기타의 방법으로 이용자에게 통지 ②제1항제2호의 규정에 의한 통지는 서비스제공자등 또는 영업양수자등이 과실없이 이용자의 연락처를 알지 못하거나 천재?지변 기타 통지할 수 없는 정당한 이유가 있는 경우에는 2 이상의 중앙일간지(이용자의 대부분이 특정지역에 거주하는 경우에는 그 지역을 보급구역으로 하는 일간지로 할 수 있다)에 1회 이상 공고하는 것으로 갈음할 수 있다. 다만, 연락처를 알고 있는 이용자에 대하여는 제1항제2호의 규정에 의한 통지를 하여야 한다. 제15조(개인정보관리책임자의 지정) ①서비스제공자등은 이용자의 개인정보를 보호하고 개인정보와 관련한 이용자의 불만을 처리하기 위하여 다음 각호의 업무를 수행하는 개인정보관리책임자를 지정하여야 한다. 1. 이용자 개인정보의 수집?이용?제공 및 관리에 관한 업무의 총괄 2. 서비스제공자등의 소속 직원 또는 제3자에 의한 위법?부당한 개인정보 침해행위에 대한 점검 3. 이용자로부터 제기되는 개인정보에 관한 불만이나 의견의 처리 및 감독 4. 기타 이용자의 개인정보 보호에 필요한 사항 ②개인정보관리책임자는 서비스제공자등의 임원 또는 개인정보와 관련하여 이용자의 고충처리를 담당하는 부서의 장의 지위에 있는 자 또는 개인정보 취급부서의 장이어야 한다. 제16조(개인정보의 정확성 확보) 서비스제공자등은 이용자의 개인정보를 정확하고 최신의 상태로 관리하여야 한다. 제17조(기술적 보호조치) 서비스제공자등은 컴퓨터를 이용하여 이용자의 개인정보를 취급하는 경우 개인정보가 분실, 도난, 누출, 변조 또는 훼손되지 아니하도록 안전성 확보에 필요한 다음 각호의 기술적 보호조치를 강구하여야 한다. 1. 백신 프로그램의 설치 / 운영 등 컴퓨터바이러스 방지 조치 2. 암호알고리즘 등의 이용을 통하여 개인정보를 안전하게 네트워크상에서 전송할 수 있는 보안 조치 3. 침입차단시스템 등 접근통제장치의 설치 / 운영 4. 기타 안전성 확보를 위하여 필요한 기술적 조치 제18조(관리적 보호조치) ①서비스제공자등은 이용자의 개인정보에 대한 접근 및 관리에 필요한 절차 등을 마련하여 소속 직원으로 하여금 이를 숙지하고 준수하도록 하여야 한다. ②서비스제공자등은 컴퓨터를 이용하여 이용자의 개인정보를 처리하는 경우에는 개인정보에 대한 접근권한을 가진 담당자를 지정하여 식별부호(ID) 및 비밀번호를 부여하여야 한다. 이 경우 서비스제공자등은 해당 비밀번호를 정기적으로 갱신하여야 한다. ③서비스제공자등은 인터넷 홈페이지를 통하여 회원가입 등 서비스이용계약 체결 또는 서비스제공을 위하여 이용자의 신용카드번호, 은행결제계좌 및 사용내역 등 대금결제에 관한 정보를 수집하거나 이용자에게 제공하는 경우 식별부호(ID) 및 비밀번호 확인, 전자서명의 사용 등 당해 이용자가 본인임을 확인하기 위하여 필요한 조치를 하여야 한다. 제19조(개인정보의 파기) ①서비스제공자등은 개인정보의 수집목적 또는 제공받은 목적을 달성한 때에는 당해 개인정보를 지체없이 파기하여야 한다. 다만, 다음 각호의 1에 해당하는 경우에는 예외로 한다. 1. 상법 등 법령의 규정에 의하여 보존할 필요성이 있는 경우 2. 제6조의 규정에 의하여 보유기간을 미리 이용자에게 고지하거나 명시한 경우 3. 개별적으로 이용자의 동의를 받은 경우 ②서비스제공자등은 제1항의 규정에 의하여 개인정보를 파기하는 때에는 다음 각호의 방법에 의한다. 1. 종이에 출력된 개인정보 : 분쇄기로 분쇄하거나 소각 2. 전자적 파일 형태로 저장된 개인정보 : 기록을 재생할 수 없는 기술적 방법을 사용하여 삭제 제4장 이용자의 권리 제20조(동의의 철회) ①서비스제공자등은 이용자가 방문하거나 서면, 전화, 전자우편, 전자서명 또는 이용자 ID 등을 이용하여 개인정보의 수집, 이용 또는 제공에 대한 동의를 철회하는 경우에는 본인 여부를 확인하고 법령에 다르게 규정하고 있는 경우를 제외하고는 당해 개인정보를 파기하는 등 지체 없이 필요한 조치를 취하여야 한다. ②인터넷 홈페이지를 통하여 주된 서비스를 제공하는 서비스제공자등은 이용자가 인터넷 홈페이지에서 자신의 개인정보에 대한 수집, 이용 또는 제공에 대한 동의를 철회할 수 있도록 필요한 조치를 취하여야 한다. ③서비스제공자등은 제1항의 규정에 의하여 이용자의 동의철회에 따라 당해 이용자의 개인정보를 파기하는 등의 조치를 취한 경우에는 그 사실을 이용자에게 지체없이 통지하여야 한다. 제21조(열람 및 정정요구에 대한 조치) ①서비스제공자등은 이용자가 방문하거나 서면, 전화, 전자우편, 전자서명 또는 이용자 ID 등을 이용하여 자신의 개인정보에 대한 열람 또는 정정을 요구하는 경우에는 본인 여부를 확인하고 지체없이 필요한 조치를 취하여야 한다. ②인터넷 홈페이지를 통하여 주된 서비스를 제공하는 서비스제공자등은 이용자가 인터넷 홈페이지에서 자신의 개인정보에 대한 열람 또는 정정을 수행할 수 있도록 필요한 조치를 취하여야 한다. ③서비스제공자등은 이용자의 대리인이 방문하여 열람 또는 정정을 요구하는 경우에는 이용자의 진정한 대리인인지 여부를 확인하여야 한다. 이 경우 서비스제공자등은 대리관계를 나타내는 증표를 제시하도록 요구할 수 있다. ④서비스제공자등은 제1항의 규정에 의하여 이용자로부터 개인정보 오류의 정정 요구를 받은 경우에는 그 오류를 정정할 때까지 당해 개인정보를 제공하거나 이용하여서는 아니된다. ⑤서비스제공자등은 제1항의 규정에 의하여 정정 조치를 한 경우에는 그 사실을 지체없이 당해 이용자에게 통지하여야 한다. ⑥서비스제공자등은 당해 개인정보의 전부 또는 일부에 대하여 열람 또는 정정을 거절할 정당한 이유가 있는 경우에는 이용자에게 이를 지체없이 통지하고 그 이유를 설명하여야 한다. 제5장 아동에 관한 특별 조치 제22조(아동의 개인정보 수집 등) ①서비스제공자등이 만 14세 미만의 아동(이하 "아동"이라 한다)의 개인정보에 대하여 다음 각호의 행위를 하는 경우에는 해당 아동의 법정대리인의 동의를 얻어야 한다. 1. 서비스제공자 : 아동의 개인정보를 수집하거나 제6조의 규정에 의한 고지의 범위 또는 서비스이용약관에 명시한 범위를 넘어 이용하거나 제3자에게 제공하고자 하는 경우 2. 서비스제공자로부터 아동의 개인정보를 제공받은 자 : 개인정보를 제공받은 목적외의 용도로 이용하거나 제3자에게 제공하는 경우 ②서비스제공자등은 제1항의 규정에 의한 동의를 얻기 위하여 법정대리인의 성명, 연락처 등 필요한 최소한의 정보를 요구할 수 있다. 이 경우 서비스제공자등은 아동이 쉽게 이해할 수 있는 평이한 표현으로 다음 각호의 사항을 아동에게 고지하여야 한다. 1. 개인정보의 수집?이용 또는 제공 목적 2. 법정대리인의 동의가 필요하다는 취지 ③서비스제공자등은 이용자가 아동인지 여부를 확인하기 위하여 필요한 합리적인 노력을 하여야 한다. ④서비스제공자등은 제2항의 규정에 의하여 수집한 법정대리인의 개인정보를 해당 법정대리인의 동의 여부를 확인하는 목적외의 용도로 이를 이용하거나 제3자에게 제공하여서는 아니된다. 제23조(법정대리인에 대한 고지 및 동의 방법) ①서비스제공자등은 제22조제1항의 규정에 의한 법정대리인의 동의를 받고자 하는 경우에는 다음 각호의 사항을 법정대리인에게 고지하여야 한다. 1. 서비스제공자가 아동의 개인정보를 수집하는 경우 : 제6조 각호의 사항 2. 서비스제공자가 제6조의 규정에 의한 고지 또는 명시한 범위를 넘어 개인정보를 이용하거나 제3자에게 제공하는 경우 : 제9조제3항 각호의 사항(이 경우 "이용자"를 "법정대리인"으로 본다. 이하 이 조에서 같다) 3. 서비스제공자로부터 아동의 개인정보를 제공받은 자가 개인정보를 제공받은 목적외의 용도로 이용하거나 제3자에게 제공하는 경우 : 제9조제3항 각호의 사항 ②제1항의 규정에 의한 고지는 다음 각호의 1의 방법에 의한다. 1. 전화, 팩스 또는 우편 2. 아동으로 하여금 인터넷 홈페이지에서 통지내용을 프린트하여 법정대리인에게 제출하게 하는 방법 3. 법정대리인에게 전자우편을 보내면서 인터넷 홈페이지의 개인정보보호방침을 볼 수 있도록 연결(하이퍼링크)시키는 방법 4. 기타 법정대리인에게 고지내용이 도달할 수 있는 합리적인 방법 ③제1항의 규정에 의한 동의는 다음 각호의 1의 방법에 의한다. 1. 법정대리인의 전자서명된 전자우편을 이용하도록 하는 방법 2. 우편 또는 인터넷 홈페이지에서 다운로드를 통하여 제공받은 양식의 서면에 법정대리인이 직접 서명날인하여 우편이나 팩스 등으로 서비스제공자에게 전달하는 방법 3. 기타 법정대리인이 진정으로 동의하였음을 확인할 수 있는 합리적인 방법 제24조(법정대리인의 권리에 대한 조치) ①법정대리인은 제22조제1항의 규정에 의한 동의를 철회할 수 있으며, 당해 아동이 제공한 개인정보에 대한 열람 또는 오류의 정정을 요구할 수 있다. ②제20조 및 제21조의 규정은 제1항의 규정에 의하여 법정대리인이 동의를 철회하거나 열람 또는 오류정정의 요구에 관하여 이를 준용한다. 이 경우 "이용자"는 "법정대리인"으로 본다. 제6장 보 칙 제25조(교육) ①서비스제공자등은 개인정보의 수집 또는 관리업무를 담당하는 직원에게 이용자의 개인정보를 보호하기 위하여 필요한 교육을 실시하여야 한다. 이 경우 개인정보관리책임자는 교육내용, 절차 및 방법 등 교육의 실시에 관하여 필요한 지침을 수립하여야 한다. ②서비스제공자는 제1항의 규정에 의한 교육을 자체적으로 실시하거나 해당 분야의 전문기관에 위탁하여 실시할 수 있다. 제26조(내부감사) ①서비스제공자등은 소속 직원이 이 지침에서 정하는 개인정보 보호의무를 성실히 이행하는지 여부를 감사하여야 한다. 이 경우 개인정보관리책임자는 감사대상, 감사절차 및 방법 등 감사의 실시에 관하여 필요한 지침을 수립하여야 한다. ②서비스제공자등은 제1항의 규정에 의한 감사를 실시한 결과 개인정보의 관리?운영상의 문제점을 발견하거나 관련 직원이 이 지침을 위반한 사실을 발견한 때에는 시정?개선 또는 인사발령 등 지체없이 필요한 조치를 취하여야 한다. 제27조(고충처리) 서비스제공자등은 전화, 서면, 전자우편 또는 인터넷 홈페이지등을 통하여 개인정보와 관련한 이용자의 의견을 수렴하고 불만사항을 접수하여 이를 처리하여야 한다. 제28조(분쟁조정) 서비스제공자등 및 이용자는 개인정보에 관한 분쟁이 있는 경우 신속하고 효과적인 분쟁해결을 위하여 법 제33조의 규정에 의한 개인정보분쟁조정위원회에 분쟁의 조정을 신청할 수 있다. 제29조(손해배상) 이용자는 서비스제공자등이 법 제22조 내지 제31조의 규정에 의한 개인정보 보호에 관한 사항을 위반한 행위로 손해를 입은 경우에는 그 서비스제공자등에 대하여 손해배상을 청구할 수 있다. 이 경우 당해 서비스제공자등은 고의 또는 과실이 없음을 입증하지 아니하면 책임을 면할 수 없다. 제30조(광고성 정보 전송의 제한) ①누구든지 수신자의 명시적인 수신거부의사에 반하여 영리목적의 광고성 정보를 전송하여서는 아니된다. ②영리목적의 광고성 정보를 전자우편으로 전송하고자 하는 자는 전자우편의 제목란 및 본문란에 다음 각호의 사항을 수신자가 쉽게 알아볼 수 있도록 명시하여야 한다. 1. 전자우편의 제목란 : "광고"라는 문구와 전자우편 본문란의 주요 내용 2. 전자우편의 본문란 : 수신자가 수신거부의 의사표시를 할 수 있는 용이한 방법, 수신자의 전자우편 주소를 수집한 경로와 전송자의 명칭 및 연락처(전화번호 또는 전자우편 주소) ③제2항제1호의 규정에 의한 전자우편의 제목란에는 처음에 빈칸 없이 "(광고)"라는 문구를 표기하고 이어서 수신자가 전자우편 본문의 주요내용을 쉽게 알 수 있도록 하는 문구를 표기하여야 한다. ④팩스 / 휴대폰 문자전송 등 전자우편이외의 문자전송을 통해 영리목적의 광고성 정보를 전송하는 경우에는 전송내용 처음에 "(광고)"라는 문구를 표기하고 전송내용중에 전송자의 연락처를 명기하여야 한다. ⑤영리목적의 광고성 정보를 전송하는 자는 전송자의 명칭 및 연락처를 허위로 기재하는 등 수신자가 수신거부의 의사표시를 할 수 없도록 하는 행위를 하여서는 아니된다. 제31조(비밀 등의 보호) 누구든지 정보통신망에 의하여 처리 / 보관 또는 전송되는 타인의 개인정보를 훼손하거나 공개를 원하지 않는 타인의 개인정보를 침해 / 도용 또는 누설하여서는 아니된다. 제32조(개인정보의 국외 이전에 대한 제한) 서비스제공자등은 업무제휴 등을 통하여 이용자의 개인정보를 국외로 이전하고자 하는 경우에는 사전에 이용자의 동의를 얻어야 하며, 법의 규정을 위반하는 내용의 계약을 체결하여서는 아니된다. 부 칙 이 지침은 고시한 날부터 시행한다. <개인보호정책 2 > 1.개인정보의 수집목적 및 이용 한국안전기술연합(주)이 회원님 개인의 정보를 수집하는 목적은 한국안전기술연합(주) 사이트를 통하여 회원님께 최적의 맞춤화된 서비스를 제공해드리기 위한 것입니다. 한국안전기술연합(주)은 각종의 컨텐츠를 유료로 서비스해 드리고 있습니다. 이때 회원님께서 제공해주신 개인정보를 바탕으로 회원님께 보다 더 유용한 정보를 선택적으로 제공하는 것이 가능하게 됩니다. 2.수집하는 개인정보 항목 및 수집방법 한국안전기술연합(주)은 최초 회원가입을 하실 때 서비스 제공을 위해 가장 필수적인 개인정보를 받고 있습니다. 회원가입 시에 받는 정보는 회원님의 이름, 전자우편주소, 주민등록번호, 이동전화번호, 주소등입니다. 이외에 추가정보(회사이름, 부서->선택사항)의 기재를 요청하게 됩니다. 이때에도 기입하신 정보는 해당서비스 제공이나 회원님께 사전에 밝힌 목적 이외의 다른 어떠한 목적으로도 사용되지 않음을 알려드립니다. 3.개인정보의 보유 및 폐기 귀하가 한국안전기술연합(주)의 회원으로서 한국안전기술연합(주)이 제공하는 서비스를 받는 동안 회원님의 개인정보는 한국안전기술연합(주)에서 계속 보유하며 서비스 제공을 위해 이용하게 됩니다. 다만 한국안전기술연합(주)의 회원이 아래의 '6. 자신의 개인정보 열람, 정정 및 삭제'에서 설명한 절차에 따라 ID를 삭제하거나 가입해지를 요청한 경우와 회원님께 사전에 알려드린 개인정보를 제공받은 목적이 달성된 경우에 수집된 개인의 정보는 재생할 수 없는 방법에 의하여 하드디스크에서 완전히 삭제되며 어떠한 용도로도 열람 또는 이용할 수 없도록 처리됩니다. 4.개인정보의 제공 및 공유 원칙적으로 한국안전기술연합(주)은 회원님의 개인정보를 타인 또는 타기업?기관에 공개하지 않습니다. 다만 회원님이 공개에 동의한 경우 또는 한국안전기술연합(주)의 서비스 이용약관을 위배하는 사람이나 한국안전기술연합(주)의 서비스를 이용하여 타인에게 법적인 피해를 주거나 미풍양속을 해치는 행위를 한 사람 등에게 법적인 조치를 취하기 위하여 개인정보를 공개해야 한다고 판단되는 충분한 근거가 있는 경우는 예외로 합니다. 이 경우에도 개인에게는 제공되지 않으며 규정된 절차에 따라서 수사기관에만 제공할 수 있습니다. 한국안전기술연합(주)은 보다 나은 서비스 제공을 위해 회원님의 개인정보를 비즈니스 파트너와 공유할 수 있습니다. 이 경우에도 정보수집 또는 정보제공 이전에 회원님께 비즈니스 파트너가 누구인지, 어떤 정보가 왜 필요한지, 그리고 언제까지 어떻게 보호/관리되는지 알려드리고 동의를 구하는 절차를 거치게 되며, 회원님께서 동의하지 않는 경우에는 추가적인 정보를 수집하거나 비즈니스 파트너와 공유하지 않습니다. 기타 통계처리, 학술연구, 시장조사를 위하여 필요한 경우에는 특정한 개인을 식별할 수 없는 형태로만 정보가 제공됩니다. 5.개인정보보호를 위한 기술적/제도적 관리 회원님의 개인정보는 비밀번호에 의해 보호되고 있습니다. 회원님 계정의 비밀번호는 오직 본인만이 알 수 있으며, 개인정보의 확인 및 변경도 비밀번호를 알고 있는 본인에 의해서만 가능합니다. 따라서 회원님의 비밀번호는 누구에게도 알려주면 안됩니다. 또한 작업을 마치신 후에는 로그아웃(log-out)하시고 웹브라우저를 종료하는 것이 바람직합니다. 특히 다른 사람과 컴퓨터를 공유하여 사용하거나 공공장소에서 이용한 경우 개인정보가 다른 사람에게 알려지는 것을 막기 위해서 이와 같은 절차가 더욱 필요하다고 하겠습니다. 해킹 등에 의해 회원의 개인정보가 유출되는 것을 막기 위해 현재 외부로부터의 침입을 차단하는 장치를 이용하여 외부로부터의 공격, 해킹 등을 막고 있으며, 각 서버마다 침입탐지시스템을 설치하여 24시간 침입을 감시하고 있습니다. 기타 회원 개인정보의 훼손에 대비해서 시스템과 데이터를 백업하여 만약의 사태에 대비하고 있습니다. 한국안전기술연합(주)은 개인정보 취급 직원을 최소한으로 제한하고 담당직원에 대한 수시 교육을 통하여 본 정책의 준수를 강조하고 있으며, 본 정책의 이행사항 및 담당직원의 준수여부를 확인하여 문제가 발견될 경우 바로 시정조치하고 있습니다. 6.자신의 개인정보 열람, 정정 및 삭제 회원님은 언제든지 등록되어 있는 회원님의 개인정보를 열람하거나 정정하실 수 있으며, 아이디(ID) 삭제를 요청하실 수 있습니다. 회원님 개인 정보의 열람 및 정정은 회원정보변경에서 하실 수 있으며, 아이디 삭제는 회원정보변경에서 ID삭제 메뉴를 클릭하신 다음 정해진 순서에 따라 진행하시면 됩니다. 개인정보와 관련하여 불만이나 의견이 있으신 분은 개인정보 관리담당자에게 메일(youngoak0328@hanmail.net) 또는 전화(2618-8009)로 의견을 주시면 접수 즉시 조치하고 처리결과를 통보해 드리겠습니다. 7.어린이의 개인정보보호 만14세 미만의 어린이는 자신에 대한 정보를 다른 사람에게 함부로 보내면 안되며, 보내기 전에 반드시 부모님의 허락을 받아야 합니다. 한국안전기술연합(주)은 만14세 미만 어린이의 정보를 다른 사람 또는 업체와 공유하지 않으며, 만14세 미만의 어린이에게는 광고메일을 발송하지 않습니다. 회원님 계정의 비밀번호에 대한 보안을 유지할 책임은 회원님 자신에게 있습니다. 한국안전기술연합(주)에서 메일 또는 기타 방법으로 회원님께 비밀번호를 질문하는 경우는 절대 없으므로 어떠한 경우에도 비밀번호를 알려주지 마십시오. 로그온(log-on)한 상태에서는 주위의 다른 사람에게 개인정보가 유출되지 않도록 특별히 주의를 기울이시기 바랍니다. 8.개인정보 관리책임자 이 름 : 송영옥 직 위 : 대표이사 전 화 : 2618-8009 e-Mail : youngoak0328@hanmail.net
이메일무단수집거부 <법적고지> <무단 이메일 수집거부> 본 웹사이트에 게시된 이메일 주소가 전자우편 수집 프로그램이나 그밖의 기술적 장치를 이용하여 무단으로 수집되는 것을 거부하며, 이를 위반시 정보통신망 법에 의해 형사 처벌됨을 유념하시기 바랍니다. <저작권> 한국안전기술연합(주) 홈페이지는 한국안전기술연합(주)이 일체의 비용을 투입하여 독점적으로 소요하는 소중한 자산이며, 이들 모두에 관한 저작권 또한 한국안전기술연합(주)에 귀속됩니다. 이상의 법적고지는 2007년 01월 01일부터 시행합니다.